Page top

Industrial Automation

Industrial Automation

F3SJ Series

Safety Light Curtain

F3SJ Series

Three versions available to meet your exact safety needs. All versions conform to the latest PLe/Safety Category 4 and SIL3 requirements.

(Unit: mm)

F3SJ-E/F3SJ-B

The dimensions of the F3SJ-E and F3SJ-B are the same except for connector cables and cable leads.

Main Units

Mounting Top/Bottom and Intermediate Brackets

Backside mounting

F3SJ Series Dimensions 4

Side mounting

F3SJ Series Dimensions 5

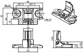
Dimensions of top/bottom bracket for F39-LJB1

F3SJ Series Dimensions 6

Material: Stainless

Mounting Intermediate Brackets only (location-free mounting)

Backside mounting

F3SJ Series Dimensions 8

Side mounting

F3SJ Series Dimensions 9

Dimensions of intermediate bracket for F39-LJB2

Backside mounting

F3SJ Series Dimensions 11

Material : Zinc die-cast

Side mounting

F3SJ Series Dimensions 12

Material : Zinc die-cast

When Using One-touch Brackets

Backside mounting

F3SJ Series Dimensions 14

Side mounting

F3SJ Series Dimensions 15

Dimensions of one-touch bracket for F39-LJB3

Backside mounting

F3SJ Series Dimensions 17

Material : Zinc die-cast

Side mounting

F3SJ Series Dimensions 18

Material : Zinc die-cast

Dimensions of one-touch M6 bracket

F3SJ Series Dimensions 19

Material : Stainless

Dimensions of one-touch M8 bracket

F3SJ Series Dimensions 20

Material : Stainless

When Using Compatible Brackets

Backside mounting

F3SJ Series Dimensions 22

C (protective height): 4-digit number in the Model name
A = C + 159
B = C + 86

Side mounting

F3SJ Series Dimensions 23

C (protective height): 4-digit number in the Model name
A = C + 159
B = C + 86

Dimensions of compatible bracket for F39-LJB4

F3SJ Series Dimensions 24

Material: Stainless

When Using Contact Mount Brackets

Backside mounting

F3SJ Series Dimensions 26

C (protective height): 4-digit number in the Model name
A = C + 69
B = C + 47.5
D = C - 45

Side mounting

F3SJ Series Dimensions 27

C (protective height): 4-digit number in the Model name
A = C + 69
B = C + 47.5
D = C - 45

Dimensions of F39-LJB5 contact mount bracket

F3SJ Series Dimensions 28

Material: Stainless

Note: 1. The protective height of the F3SJ-E/B series that supports the contact mount bracket is limited.
              Protective height allowed for mounting: 185 mm to 1,105 mm (225 mm to 545 mm for the model with the 
             suffix "-02TS")
          2. Brackets of other models such as F39-LJB1 cannot be used simultaneously.

F3SJ-B[][][][]P25-02TS

F3SJ Series Dimensions 29

Note: For information on dimensions with brackets mounted, refer to the User's Manual of the F3SJ-B[][][][]P25-02TS
          (SCHG-736). Brackets used are common to other F3SJ-E/B series.

Required number of intermediate brackets

The number of the brackets needed for the F3SJ-B[][][][]P25-02TS differs from the other F3SJ-E/B series. The table below shows the number of brackets corresponding to the protective heights.

When using top/bottom bracket/compatible bracket + intermediate bracket

F3SJ Series Dimensions 31

Using only the intermediate bracket (free-location mounting)

F3SJ Series Dimensions 32

When using the one-touch bracket

F3SJ Series Dimensions 33

Accessories

Single-Ended Cable (F3SJ-B)
F39-JD3A (L = 3 m)
F39-JD7A (L = 7 m)
F39-JD10A (L = 10 m)
F39-JD15A (L = 15 m)
F39-JD20A (L = 20 m)

F3SJ Series Dimensions 36

Cable color: Gray for emitter and Black for receiver
* Cables with L=3, 7, 10, 15, and 20 m are available.

Double-Ended Cable (F3SJ-B)
F39-JDR5B (L = 0.5 m)
F39-JD1B (L = 1 m)
F39-JD3 (L = 3 m)
F39-JD5 (L = 5 m)
F39-JD7B (L = 7 m)
F39-JD10B (L = 10 m)
F39-JD15B (L = 15 m)
F39-JD20B (L = 20 m)

F3SJ Series Dimensions 38

Cable color: Gray for emitter and Black for receiver

Simple Wiring Connector
F39-CN5

F3SJ Series Dimensions 39

Control Unit (F3SJ-B)
F3SP-B1P

F3SJ Series Dimensions 40

Laser Pointer (F3SJ-E) (F3SJ-B)
F39-PTJ

F3SJ Series Dimensions 41

Spatter Protection Cover (F3SJ-E) (F3SJ-B)
F39-HB[][][][]

F3SJ Series Dimensions 42

L = [][][][] - 21 mm
Material: PC (protective cover)

Mirror Column

F39-SML[][][][]

F3SJ Series Dimensions 43

Protective Bar (F3SJ-E) (F3SJ-B)
F39-PB[][][][]

Backside mounting (using M5 screws)

F3SJ Series Dimensions 45

Backside mounting (using M8 screws)

F3SJ Series Dimensions 46

Side mounting (using M5 screws)

F3SJ Series Dimensions 47

Side mounting (using M8 screws)

F3SJ Series Dimensions 48

F3SJ-A

Main Units

When Using Standard Mounting Brackets

Backside mounting

F3SJ Series Dimensions 52

Side mounting

F3SJ Series Dimensions 53

F39-LJ1 Detailed Dimensions of Bracket

F3SJ Series Dimensions 55

Material: Stainless steel

F3SJ Series Dimensions 56

Material: Brass

F3SJ Series Dimensions 57

Material: Stainless steel

Using Side Flat Mounting Bracket (F39-LJ2)

F3SJ Series Dimensions 59

Using Free Location Mounting Bracket (F39-LJ3)

Backside mounting

F3SJ Series Dimensions 61

Side mounting

F3SJ Series Dimensions 62

Dimensions B, C, and F

F3SJ Series Dimensions 63

Dimensions F

F3SJ Series Dimensions 64

* Use F = 350 or less when none of the F values shown above are used.

When only F39-LJ3 free-location mounting brackets are used without standard brackets, allow a space of at least 350 mm between the brackets. The number of brackets required varies according to the protective height. For details about the number of required brackets, refer to the table below.
The standard included intermediate brackets are the same as the F39-LJ3 free-location mounting brackets. Purchase brackets as necessary if there are fewer intermediate brackets than required. When intermediate brackets are included, they can be used as free-location mounting brackets.

Required number of F39-LJ3 free-location mounting brackets for 1 F3SJ set (emitter/receiver) (2 pieces are included with F39-LJ3)

F3SJ Series Dimensions 66

Using Top/Bottom Bracket B (F39-LJ4)
Backside mounting

F3SJ Series Dimensions 67

Note: Refer to the User's Manual for the dimensions for side mounting.
* Using M5 bolt, available range for mounting is 18 to 20

Using Top/Bottom Bracket C (F39-LJ11)

F3SJ Series Dimensions 68

Using Space-saving Mounting Bracket (F39-LJ8)
Backside mounting

F3SJ Series Dimensions 69

Note:Because the F39-LJ8 cannot be mounted together with an intermediate bracket, keep the protective height at 600
         mm max.

Guide to Replacing F3SJ-A with F3SJ-E/B (Including models whose production will be discontinued)

F3SJ-A to F3SJ-E/B replacement correspondence table (F3SJ-A mounting holes can be used without modification)

To check available brackets for replacement, refer to the table below.
To check dimensions when mounting brackets, refer to Catalog.
The values in the table correspond to in the model name, meaning the protective height (mm) of a sensor.

F3SJ Series Dimensions 71
F3SJ Series Dimensions 72

Note: 1. Protective height and detection capability vary according to replacement. Check the safe design of your device
              before use.
          2. The maximum protective height of F3SJ-E is 1,105 mm. Only the F3SJ-B can be replaced for the protective
               height of 1,185 or more.

Change of Dimensions due to Replacement

(1) Replacement by backside mounting

F3SJ Series Dimensions 74

Dimensional drawing from mounting wall surface to optical surface

F3SJ Series Dimensions 75

(2) Replacement by side mounting

F3SJ Series Dimensions 76

Dimensional drawing of a protrusion from mounting wall

F3SJ Series Dimensions 77

Replacement using intermediate brackets

For backside mounting, the F3SJ-A and F3SJ-E/B can be used without modification due to compatibility in mounting hole pitch. For side mounting, a new hole needs to be made due to the different mounting hole pitch.

Mounting hole pitch for side mounting using intermediate bracket

F3SJ Series Dimensions 79

Dimensional drawing of mounting hole for side mounting using intermediate bracket

F3SJ Series Dimensions 80

Change of Dimensions due to Replacement

F3SJ Series Dimensions 81

Using mounting bracket for short-length F3SN (F39-LJ5)

Inward-facing mounting

F3SJ Series Dimensions 83

Outward-facing mounting

F3SJ Series Dimensions 84

Inward + outward-facing mounting

F3SJ Series Dimensions 85

Accessories

F3SJ Series Dimensions 87

Single-Ended Cable
F39-JD3A (L = 3 m)
F39-JD7A (L = 7 m)
F39-JD10A (L = 10 m)
F39-JD15A (L = 15 m)
F39-JD20A (L = 20 m)

Cable color: Gray for emitter Black for receiver
* Cables with L=3, 7, 10, 15, and 20 m are available.

F3SJ Series Dimensions 89

Double-Ended Cable
F39-JDR5B (L = 0.5 m)
F39-JD1B (L = 1 m)
F39-JD3B (L = 3 m)
F39-JD5B (L = 5 m)
F39-JD7B (L = 7 m)
F39-JD10B (L = 10 m)
F39-JD15B (L = 15 m)
F39-JD20B (L = 20 m)

Cable color: Gray for emitter Black for receiver

Simple Wiring Connector
F39-CN5

F3SJ Series Dimensions 91

Control Unit
F3SP-B1P

F3SJ Series Dimensions 92

Laser Pointer
F39-PTJ

F3SJ Series Dimensions 93

Dedicated External Indicator Set
F39-A01[]-PAC

F3SJ Series Dimensions 94

Material: Stainless steel

Spatter Protection Cover
F39-HJ[][][][]

F3SJ Series Dimensions 95

Material: PC (transparent area), ABS (non-transparent area)

Mirror Column

F39-SML[][][][]

F3SJ Series Dimensions 96

Setting Support Software for the F3SJ
F39-GWUM

F3SJ Series Dimensions 97

Protective Bar
F39-PJ[][][][]-S

Backside mounting

F3SJ Series Dimensions 99

Side mounting

F3SJ Series Dimensions 100

* The four intermediate brackets (F39-PJ-MS) for side mounting are not provided.

Water-resistant Case
F39-EJ[][][][]-L(D)

Backside mounting

F3SJ Series Dimensions 102

*The Mounting Brackets (F39-EJ-R) are sold separately.

Side mounting

F3SJ Series Dimensions 103

*The Mounting Brackets (F39-EJ-S) are sold separately.